手機:13827297626
電話:13827297626
郵箱:435281082@qq.com
地址:廣東省東莞市樟木頭鎮圩鎮荔苑路7號星耀國際
發布時間:2020-05-19 點此:5688次
Micro USB是USB 2.0標準的一個便攜版本,比部分手機使用的Mini USB接口更小,節省空間,具有高達10000次的插拔壽命和強度,盲插結構設計。Micro-USB標準支持目前USB的OTG功能,即在沒有主機(例如個人電腦)的情況下,便攜設備之間可直接實現數據傳輸,兼容USB1.1 (低速:1.5Mb/s,全速:12Mb/s) 和USB 2.0(高速:480Mb/s),同時提供數據傳輸和充電,特別適用于高速(HS)或更高速率的數據傳輸,是連接小型設備(如手機,PDA,數碼相機,數碼攝像機和便攜數字播放器等等)的最佳選擇。同時也能為車載提供方便,只需要USB車載充電器,再加MICRO USB數據線進行手機應急充電。并且在高檔車上面直接有5V 輸出接口接上MICRO USB線為手機充電。MICRO USB通用性廣,使用方便。
穎鑫電子microusb 母座廠家批發價格:0.15~0.5元/個;不同pin腳數的價格 有所區別,詳細可以咨詢客服提供圖紙核對確認。

Micro-USB是Mini-USB的下一代規格,Micro系列的定義包括標準設備使用的Micro-B系列插槽;OTG設備使用的Micro-AB插槽;Micro-A和Micro-B插頭,還有線纜。Micro系列的獨特之處是他們包含了不銹鋼外殼,萬次插拔不成問題。

microusb的一種安裝焊接方式
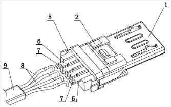
Micro-USB插頭及數據線的插裝焊接工藝,其特征在于包括如下步驟:
步驟A、制備殼體(1)、基座(2)、卡鉤(4)和多個電接端子(3),該電接端子(3)的尾端設置為加寬焊接盤(6),該加寬焊接盤(6)開設有插接孔(7),電接端子(3)與加寬焊接盤(6)一體成型;
步驟B、將多個電接端子(3)固定于注塑機并采用鑲嵌注塑的方式注塑成型得到端子座(5);
步驟C、將所述卡鉤(4)和端子座(5)上的電接端子(3)插入基座(2)的凹槽內;步驟D、將步驟C中得到的端子座(5)和基座(2)的連接體套裝至所述殼體(1)內,并卡接扣合得到Micro-USB插頭。

采用現有的自動化設備即可進行自動化加工,數據線的焊接效率得到成倍提高,焊接質量得到顯著提高,大大降低了數據線生產成本。




上一篇:電位器封裝